Apple sfiderà gli occhiali per la realtà aumentata di Google?
Gli occhiali per la realtà aumentata di Google sono stati presentati ufficialmente in occasione del Google I/O 2012 e pur trattandosi ancora di un prototipo possono già essere acquistati, al “modico” costo di 1.500 dollari, da eventuali sviluppatori interessati.
Nonostante big G sia stata la prima a proporre realmente un prodotto di questo tipo Apple, però, potrebbe decidere di rispondere al progetto Google Glass.
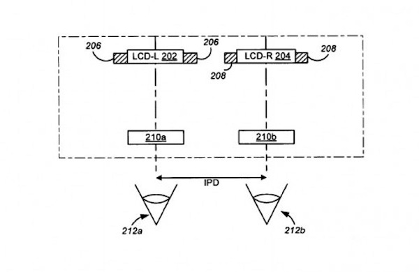
Stando a quanto emerso nel corso delle ultime ore risulta infatti che il 13 ottobre del 2006 Cupertino depositò domanda per un brevetto per un dispositivo di elaborazione indossabile mediante cui proiettare l’immagine su un apposito apparecchio di visualizzazione pensato, appunto, per essere applicato direttamente sul capo proiettando direttamente dinanzi agli occhi dell’utente le immagini.
Tenendo conto di ciò l’intento di Apple potrebbe quindi essere quello di fornire all’utente un display computer da portare sempre con sé...

Continua a leggere questa notizia su .
- [10/10/14] Chiusa una porta si apre un portone: Hairgate colpisce Apple e l'iPhone6
- [30/09/14] Bendgate, Apple apre le porte del laboratorio per gli stress test
- [29/12/12] New York: Apple causa aumento della criminalità
- [05/08/12] Apple mostra i prototipi segreti
- [30/07/12] Apple, nuovo brevetto sui Google Glass